喜讯|湃肽生物完成化妆品原料报送
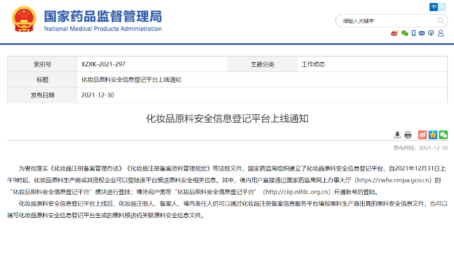
根据《化妆品注册备案资料管理规定》要求,2021.12.31日迎来了一个重大消息《化妆品原料安全息息登记平台》正式开放了。化妆品原料生产商或者授权企业可以登陆“化妆品原料安全信息平台”报送原料安全相关相关信息。

来源:国家药监局官网
化妆品原料生产商或其授权企业在化妆品原料安全信息登记平台上报送原料安全相关信息后,会自动生成原料报送码,注册人、备案人可填写原料报送码关联原料安全信息文件。这意味着原料生产商合规报送原料安全信息后,可以精简化妆品企业备案和注册过程中的重复程序。
原料报送码小知识
1、原料报送码是什么?
《化妆品原料安全信息填报技术指南》中提到,原料报送码由三部分组成:原料编码-生产商编码-质量规格编码,其中部分编码数字为随机分配。以公司ZPC®Wrinklend008P产品为例,其原料报送码为“007780-00167-9932”。
生产商编码为“00167”,这是识别企业身份并赋予原料生产商编码的重要依据,从这里我们就可以看到该原料的生产商是哪一个。
原料编码“007780”,如果该原料是单品的话,我们就可以在《已使用化妆品原料目录(2021年版)》(国家药监局2021年第62号)中检索到哦!但是如果复配原料,那就不确定了,毕竟原料商也是有自己的技术秘密在里面的。

2、原料报送都包括哪些重要的信息?
原料报送的安全相关信息应当包括原料商品名、原料基本信息、原料生产工艺简述、必要的质量控制要求、国际权威机构评估结论、风险物质限量要求等。其实这对于原料生产企业来说原料报送的工作量还是非常大的,虽然平台中有些内容是非必填项目,但是根据公司实际情况,可选择填写,让报送内容更完整、更准确一些。当然这也从另一方面体现了原料生产企业为客户轻松无忧的使用原料报送码做足了准备工作。
3、原料报送码流程

来源:中贸合规中心
综上,原料报送码申报对于化妆品行业监管意义重大。“简单来讲,即万一化妆品出现了安全方面的问题,监管部门就可以根据原料报送码来溯源,找到相对应的原料生产企业,化妆品责任主体将更为明确。”
湃肽“码”不停蹄
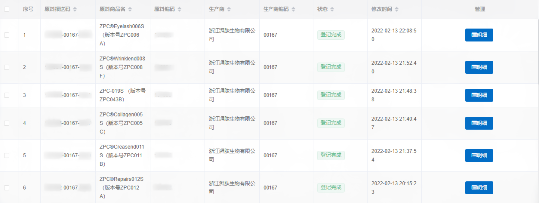
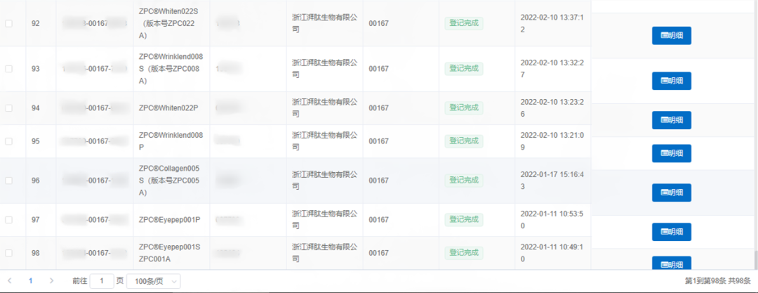
自《化妆品注册备案管理办法》实施以来,公司高层及相关员工密切关注相关法规实施进展,多次组织学习相关管理规定,并部署原料安全信息报送的工作,全力协助客户完成化妆品注册备案,为客户保驾护航。化妆品原料安全信息登记平台一上线,公司便全力展开化妆品原料安全信息登记平台上的报送工作。目前公司已有100+款原料报送成功,并获得相应报送码,其余原料正在持续更新,具体产品见下表。如需咨询原料及原料报送码请联系我司相关工作人员。



国家药监局这样一个举措,不仅会看到“越来越规范的化妆品原料生产经营活动”,还能感悟到“越来越安全的化妆品原料使用质量保障”。化妆品行业是一个“美丽”行业,希望化妆品原料生产企业可以做好“美丽”的先行者。湃肽生物一直秉承“提供放心药品,成就美好生活”这一使命,紧跟国家及行业政策,继续创新科技,致力成为民族多肽第一品牌。


扫码关注我们
解锁更多资讯